
Installation Guide
License Plate Frames – 4 Hole
INSTALLATION GUIDE FOR USA SIZE (6″ X 12″) LICENSE PLATE HOLDER WITH 4-HOLES
Tools needed:
1 – Screwdriver – Phillips Tip
1 – Screwdriver – Flat Tip

Mounting Assembly Included:
4 – Color coded screw head hider caps (A)
4 – Plastic Washers – clear color (B)
2 – Phillips Head Screws (C)
2 – Slotted Head Screws (D)
2 – Hexagon Nuts (E)

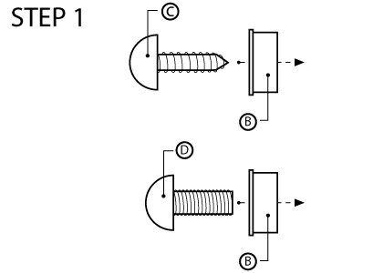
Step 1
Insert Plastic Washers (B) into screws (C) and (D)

Step 2
Check to see if the screw holes on your vehicle are at the top or bottom of plate.
Step 3
Insert license plate into license plate frame.
Step 4
If the screw holes on your vehicle’s license plate holder or cavity correspond to the top of license plate, then insert the two slotted head screws (D) into the bottom two holes of your license plate and hold these in place with the Hexagon Nuts (E).
Reverse this procedure if the screw holes on your vehicle’s license plate holder or cavity correspond to the bottom of the license plate.

Step 5
Mount license plate frame with license plate to vehicle using two Phillips head screws (C) with plastic washers (B). Please do not over torque or over tighten.

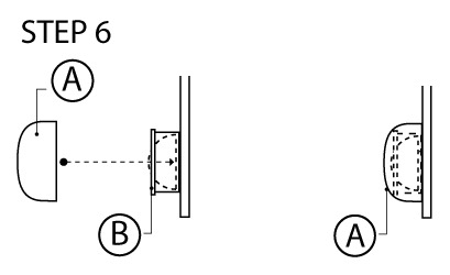
Step 6
Insert color coded screw caps (A) over plastic washers (B) for a uniform look. Make sure the Color coded screw head hider cap covers clicks on to plastic washers (B).

CARE INSTRUCTIONS: Please do not clean with any chemicals or auto polishes. HAND clean only with soft cloth and water. Do not subject your license plate to mechanical car washes.

sign-up to receive