Free shipping icon

FREE SHIPPING to all USA addresses or zip codes

Tracked shipping icon

Worldwide , Tracked Shipping

Contact icon
LPTV minicart icon
0

The cart is empty.
Please add to cart.

About Us Banner Overley

Installation Guide

Made in USA icon

License Plate Frames – 2 Hole or Wide Bottom

INSTALLATION GUIDE FOR USA SIZE (6″ X 12″) LICENSE PLATE HOLDER WITH 2-HOLES

Tools needed:

1 – Screwdriver – Phillips Tip

Screwdriver Image

Mounting Assembly Included:

2 – Color coded screw head hider caps (A)

2 – Plastic Washers – clear color (B)

2 – Phillips Head Screws (C)

Screws Image

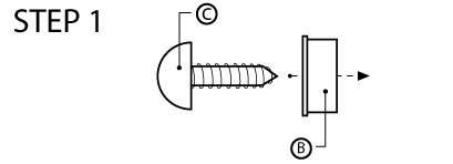
Step 1

Insert Plastic Washers (B) into screws (C)

Installation Guide 2 Hole Plate Holder Step1

Step 2

Check to see if the screw holes on your vehicle are at the top or bottom of plate.

Step 3

Insert license plate into license plate frame.

Step 4

Mount license plate frame with license plate to vehicle using two Phillips head screws (C) with plastic washers (B). Please do not over torque or over tighten.

Installation Guide 2 Hole Plate Holder Step4

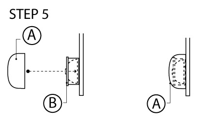
Step 5

Insert color coded screw caps (A) over plastic washers (B) for a uniform look. Make sure the Color coded screw head hider cap covers clicks on to plastic washers (B).

Installation Guide 2 Hole Plate Holder Step5

CARE INSTRUCTIONS: Please do not clean with any chemicals or auto polishes. HAND clean only with soft cloth and water. Do not subject your license plate to mechanical car washes.

Custom Requests Overlay


    Have Questions? We’re Here To Help.